產品分類
products
聯係麻豆一区二区 / contact us
地址:上海市金山區楓涇鎮環東一路
郵編:201507
網址:www.missing-tea.com
銷售部
手機:15068285565
電話:021-5648 0189
傳真:021-5186 1633
商務QQ:3038069780
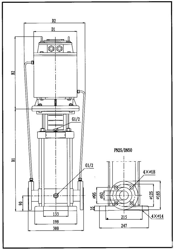
QDL不鏽鋼多級泵
當前位置:首頁 > QDL不鏽鋼多級泵QDL不鏽鋼多級泵
以下為係列產品選型範圍,具體型號參考性能參數表
口徑範圍 : 40-100(mm)
流量範圍 : 5-110(m3/h)
揚程範圍 : 6-305(m)
優勢:
品牌知名度高、質量可靠、終身維護
常規產品現貨供應
訂做產品交貨及時
QDL不鏽鋼多級泵是對原有多級泵進行更人性化設計的新一代環保型產品,充分體現了以人為本的理念。其最大特點是自帶內循環係統,流體通過內循環係統帶走電機熱量替代風扇起到冷卻作用,同時循環的流體又有效的隔絕了電磁音,從而極大的降低了泵的噪音。
泵采用先進的水力模型設計和耐磨機械密封,過流部件與電機機殼均采用不鏽鋼材質,避免了二次汙染,具有運行平穩,高效,節能,環保,使用維護方便等特點,是理想的供水用泵。
產品範圍
| 說明 | CDL8 | CDL16 | CDL20 | CDL32 | CDL42 | CDL65 | CDL85 | ||||||
| 額定流量(m3/h) | 8 | 16 | 20 | 32 | 42 | 65 | 85 | ||||||
| 額定流量(l/s) | 2.2 | 4.4 | 5.6 | 8.9 | 11.7 | 18 | 24 | ||||||
| 流量範圍(m3/h) | 5-12 | 8-12 | 10-28 | 16-40 | 25-55 | 30-80 | 50-110 | ||||||
| 流量範圍(l/s) | 1.4-3.3 | 2.2-6.1 | 2.8-7.8 | 4.4-11.1 | 6.9-15.3 | 8.3-22.2 | 13.8-30.5 | ||||||
| 最大壓力(bar) | 21 | 22 | 23 | 26 | 30 | 22 | 17 | ||||||
| 電機功率(kw) | 5.5-7.5 | 5.5-15 | 5.5-18.5 | 5.5-30 | 5.5-45 | 5.5-45 | 5.5-45 | ||||||
| 溫度範圍(℃) | -15~+40℃ | ||||||||||||
| 最高效率(%) | 64 | 66 | 69 | 76 | 78 | 80 | 81 | ||||||
| 類型 | |||||||||||||
| CDLF | · | · | · | · | · | · | · | ||||||
| CDLF管路聯接 | |||||||||||||
| DIN法蘭 | DN40 | DN50 | DN50 | DN65 | DN80 | DN100 | DN100 | ||||||
適用範圍
典型應用:
市政供水及增壓
生活小區供水及增壓
高層建築給排水
水處理,滲透及過濾係統
空調與製冷係統
其它低噪音水泵應用領城
多級泵適用範圍
產品適用於低粘度,清潔,非易燃易爆,不含固體顆粒或纖維的液體。
介質溫度:-15~+40℃
流量範圍:5~110m3/h
最大壓力:30bar
最高環境溫度:+40℃
最高海拔:1000m
最小進口壓力:參照PSH曲線
上一條信息:LG多級離心泵
下一條信息:QDLF輕型多級離心泵
























